Softwarepatente
SOFTWAREPATENTE
PV-ANLAGENDESIGN (VERFAHREN UND SCHALTUNGSANORDNUNG ZUM BAU UND ZUR GESTALTUNG EINER SOLARANLAGE)
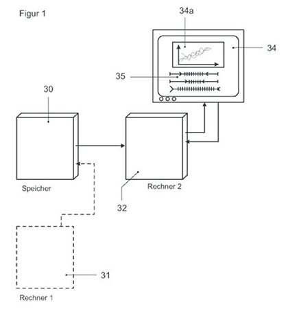
Die Erfindung betrifft Photovoltaik-Anlagen (PV-Anlagen), im Sinne von der Sonne betriebenen Kraftwerken, ihren Aufbau, ihre Erstellung und ihre „Optimierung“ mit Blick auf Eigenschaften des Kraftwerks. Schwachpunkte bestehender Optimierungstools für PV-Anlagen, also unzureichende Entscheidungsunterstützung bei einer Kompromissfindung oder nutzloses Vergeben von Optimierungsspielraum, sollen behoben/beseitigt werden. Vorgeschlagen wird dazu ein Verfahren zur Auslegung einer zu errichtenden Photovoltaikanlage (100) mit einer Nennleistung (P100) oberhalb von 2 MW oder zur Schaffung eines physikalischen Layouts einer Photovoltaikanlage (100) auf einem spezifizierten Gebiet (100a). Zur Schaffung oder Auslegung der Photovoltaikanlage wird eine große Anzahl von mehr als zwanzig fertigen Layouts von Photovoltaikanlagen (100, 101,102), die jede über bestimmte technische Parameter sowie eine Anzahl und Anordnung aller Solartische (Tn) auf dem spezifizierten Gebiet (100a), eine Anzahl und Platzierung von allen DC-AC-Wandlern (Im), eine Zuordnung jeder Gruppe von Solartischen zu ihrem DC-AC-Wandler, alle Bahnführungen der Kabel und alle Bahnführungen der Leitungen, sowie die Lage der Trafostation (W) definiert ist. Diese werden in einem Speichermodul (30) abrufbar gespeichert. Die zumindest zwanzig fertigen Layouts von Photovoltaikanlagen werden in einer grafischen Darstellung (34,34a) so dargestellt oder aufgetragen, dass jedes der Layouts und damit jede zugehörige Photovoltaikanlage (100, 101,102) mit zumindest ihrer Nennleistung (P100,P101,P102) und/oder ihrer ersten Vielzahl (N100,N101,N102) von Solartischen und ihrer zweiten Vielzahl (M100,M101,M102) von DC-AC-Wandlern als technische Eigenschaften repräsentiert ist, um unter zumindest diesen Eigenschaften (N,P;M) auszuwählen, zu vergleichen und/oder einen dargestellten Bereich einer Eigenschaft einzuschränken.

