Medizintechnik
MEDIZINTECHNIK
VORBEREITEN EINER AUSWAHL VON STEUERGRÖSSEN FÜR EINE EINZUSTELLENDE DOSISVERTEILUNG EINES TECHNISCHEN GERÄTS
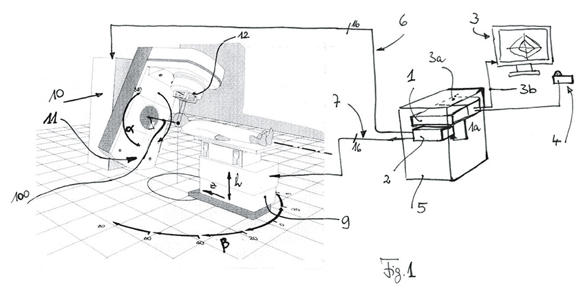
Die Erfindung betrifft ein Planungswerkzeug zur interaktiven Auswahl von Steuergrößen (x1,y7,*1,*2,*3,I1,I2) eines Strahlentherapieplans aus einer Datenbank (1) mit einer Vielzahl von vorberechneten Lösungen. Jede Lösung repräsentiert einen Strahlentherapieplan, der in technischer Hinsicht selbst aus einer Vielzahl von Steuergrößen oder Befehlen besteht. Jede Lösung hat auch Kennwerte von Strahlendosen für ein Zielvolumen (T, Target) und mindestens ein Risikovolumen (Risikoorgan, h1,h2,h3), die in der Datenbank (1) gespeichert sind.
